



Upblast Vent, 18-1/2 In, 208-230/460V
Web Price
$2,233.74
/ each
Product Details
5,138 cfm
Industrial and Commercial Buildings, Restaurants, Schools
Unassembled
Unassembled
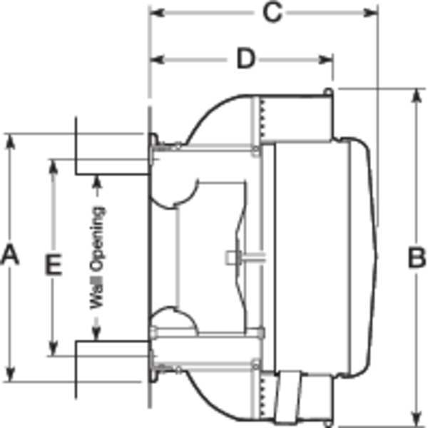
27 3/4 in
27 3/4 in Round
Not Applicable
Round
27 3/4 in dia
27-3/4 dia.
Not Applicable
Regreasable Pillow Block
1 29/50 hp
5138
5026
4913
4811
4710
4620
4532
4410
4232
3912
3537
3023
Multiple
4.8 to 4.8/2.4 A
17 x 17 in
27 3/4 in
35 3/8 in
34 3/4 in
21 in
25 in
Yes
Yes
Belt Drive
Belt Drive
Standard
Power Cord
5,138 cfm
5,000 to 10,000 cfm
5,000 to 7,999 cfm
5,026 cfm
4,913 cfm
4,811 cfm
4,710 cfm
2,000 to 4,999 cfm
Air Handling Quality Bearings Meet Minimum of L10-100,000 Hours, Nonoverloading Centrifugal Wheel Design, Optional NEMA 1 and 4 Disconnects Available, UL/CuL 705 Listed for Power Ventilators, UL/CuL 762 Listed for Restaurant Exhaust Appliances
Kitchen Air
No
60 Hz
Standard Grease
No
35.4 in
Aluminum
Spun
35.4 in
60
Drive Package, Mounting Plate, NEMA 1 Junction Box
Yes
Yes
Upblast Ventilator
1.58
300 Degrees F
4.8-4.8/2.4
1,360 RPM
300 Degrees F
1 3/4 in wc
Standard Motor
Open Dripproof
Open Dripproof (ODP)
1 1/2 hp
1-1/2
1 1/2 hp
Out of Airstream
1,360 RPM
208/230/460
wall
Roof, Wall
208-230/460V AC
208-230/460V AC
1
35 3/8 in
35 3/8 in
34 3/4 in
1
3
3/4 in
17 x 17
Spark Resistant
1360
Fully Rolled Windband
3/4 in
23
22
21
21 sones @ 0.500 in SP and 5 ft, 22 sones @ 0.250 in SP and 5 ft, 23 sones @ 0.125 in SP and 5 ft
A
No
AMCA Sound and Air, UL/cUL 762
208V AC/230V AC/460V AC
Aluminum / Aluminum
18 1/2 in
18 1/2 in
Aluminum
Backward Inclined
Viewed together

$22.36 / each
Web price

$26.24 / each
Web price

$27.11 / each
Web price

$41.49 / each
Web price

$40.86 / each
Web price